關於德發
線上購物
本店招牌
特色伴手禮
傳統美食
期間限定
購物須知
最新消息
常見問題
聯絡我們
0
關於德發
線上購物
本店招牌
特色伴手禮
傳統美食
期間限定
購物須知
最新消息
常見問題
聯絡我們
您的購物車
購物車內沒有任何商品。
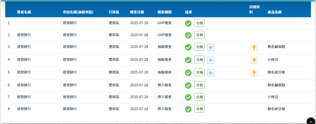
本場所配合台中市環保局衛生稽查,稽查結果均通過。
2025-09-11
本場所配合台中市政府環保局稽查GHP、產品標示、防腐劑,均符合規範通過。
GHP規範涵蓋從業人員、作業場所、設施衛生管理及品保制度等四大面向,稽查時會特別檢視這些方面是否符合規定。
產品標示符合衛生居規範格式。
防腐劑檢驗合格。
社群分享
社群 分享